“O PS4 não vai permitir usar jogos piratas nem emprestar jogos a amigos!” – Quanto disso é realmente verdade?

A Internet foi tomada de assalto essa semana por uma nova patente criada pela Sony. Segundo diversos veículos de imprensa a nova tecnologia, que seria utilizado no PS4, acabaria com a possibilidade de se utilizar um mesmo disco em diversos videogames e impediria, completamente, a revenda do jogo usado. Milhares de pessoas simplesmente surtaram soltando brados de “É o fim da Sony!” ou “Se isso acontecer eu não vou comprar um PS4!” e muito mais.

Mas isso é realmente verdade? O Mini vai a fundo e explica a situação!

Vamos começar pela patente em si. Hoje, sem recorrer a patente criada pela Sony, já existem duas formas de comprar jogos em que você não pode, depois, revender o seu produto: Compra por distribuição digital ou jogos com códigos de instalação. Em ambas as situações o jogo fica ligado a uma determinada “conta de usuário” que é o único que pode acessar o game em si. A solução é maravilhosa para games online, ou para games em equipamentos que estão constantemente online, mas, com “Crakers” e “Mods” pode ser facilmente combatido off-line. Com a questão das mídias físicas o problema é ainda pior: Não dá para se evitar que alguém use  o disco, com todo o conteúdo dele, em outro aparelho.

Onde entra a solução da Sony então? Mexer na mídia física em si!

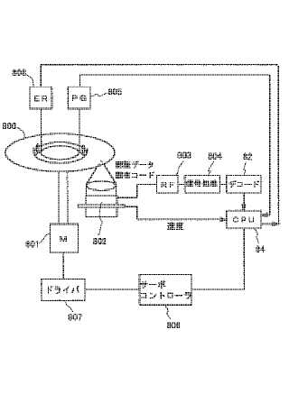
A patente JP200030633 (A) – Disk Like Recording Medium and Apparatus and Method for reproducing the Medium é na verdade um sistema interessante que poderia, inclusive, ser aplicado no PS3, caso fosse necessário. O drive em si é um drive de Blu Ray comum que, por comando de software “pisca” o canhão, em força total, em uma determinada faixa do disco, numa espécie de código morse do código de segurança do console/computador. O disco é que é diferente; em vez de um disco Blu Ray padrão, esse novo disco possui uma faixa especial, a que é irradiada pelo canhão, que é optica-magneticamente sensível, e que seria marcada, pelo leitor, com o código acima citado. Eis a pegadinha: Uma vez marcado o disco, toda vez que ele fosse iniciado, essa faixa seria lida e o código nela contido seria comparado com o código contido no console/computador. Se o código bater o sistema é iniciado. Se o código não bater o software não inicia e o usuário recebe uma mensagem de erro.

Ou seja: O disco só funciona no primeiro aparelho que foi colocado! Sem emprestar jogos, sem comprar jogos usados! E nem precisa de internet ou checagens online! É uma versão vendável da tecnologia de discos magnéticos utilizado pelos serviços de inteligência americanos – os discos só podem ser lidos em um número limitado de máquinas.

espacenetImage

Então sim, se essa tecnologia fosse aplicada no PS4, seria o fim, de uma vez só, pelo menos temporariamente, da Pirataria, revenda de games e empréstimos/aluguel de games. Cada um teria que ter sua cópia e ponto final.

Só tem um detalhe que as responsáveis fontes da imprensa, muitas vezes, deixam de mencionar: A SONY NÃO DISSE, em momento nenhum, que pretende utilizar essa, ou qualquer outra tecnologia, no PS4. O Orbis (nome do projeto PS4) ainda é um enigma envolvido em uma charada, e, considerando o foco que a Sony tem dado na distribuição digital, pode nem vir a ter drive. Quanto mais utilizar essa tecnologia! Logo, ainda não temos nenhum motivo para desespero e ranger de dentes.

A Sony (assim como a Microsoft, a Nintendo, a Apple, o Google, etc….) criam centenas de patentes todos os anos, como uma forma de proteger idéias originais ou soluções interessantes que, muitas vezes, não tem a menor intenção de usar. Sem falar que mesmo a Sony, que possui respeito zero por seus usuários, consegue entender o tamanho da repercussão que isso teria entre sua base de consumo – seria desastroso.

Então, sim! A patente existe! Não, a Sony não afirmou que a mesma será utilizada no PS3, PS4 ou qualquer outro sistema – ATÉ O MOMENTO! Bom descanso e bom divertimento!